RASVJETA HODNIKA I STUBIŠTA
Hodnici i stubišta dijelovi su stambenih ili poslovnih građevina koji služe kao prolazi između prostorija u kojima ljudi rade ili borave. Ovo je vrlo opširno područje o kojemu možemo mnogo toga napisati, no mi ćemo se prvenstveno ograničiti na najčešće pogreške pri projektiranju i izvedbi električnih instalacija u spomenutim prostorijama koje su vezane uz rasvjetu, kao i na jednostavna rješenja za spomenute probleme.
Koji su
najčešći problemi? Prvenstveno se tu radi o nedovoljnom broju prekidača za
upravljanje rasvjetom, kao i na njihovo pogrešno pozicioniranje. Moderne
instalacije zahtijevaju optimalna rješenja koja nam olakšavaju svakodnevnu
upotrebu spomenutih elemenata. Slika prikazuje najčešću pogrešku: premali broj
prekidača. Da li se tu radi o pretjeranoj uštedi, nemaru ili nestručnom
projektiranju, potpuno je nebitno. Primjeri sa slike nam sami po sebi govore u
čemu je problem; uglavnom se svodi na tapkanje po mraku kako bi se uključila
rasvjeta, ili pak na nepotrebnu šetnju prostorijom kako bi se isključila
rasvjeta prostorije iz koje dolazimo tek nakon što uključimo rasvjetu
prostorije u koju ulazimo. To može biti i opasno, naročito kod neadekvatnog
rasporeda prekidača na stubištima.
„PUT SVJETLA“
Prije no što krenemo u dublje teme
vezane uz rasvjetu, razjasnimo jedan i te kako koristan pojam koji se zove „put
svjetla“. Što je to? O čemu se tu radi?
Put svjetla je način upravljanja rasvjetom pri kojem se prilikom
prolaska kroz bilo koju prostoriju nijednom ne ostaje u mraku, odnosno ne treba
činiti nepotrebne korake kako bi uključili rasvjetu u prostoriji u koju se ulazi,
a zatim se vratiti i isključiti rasvjetu u prostoriji iz koje se izlazi. Ovaj
način upravljanja rasvjetom zadovoljava sve kriterije optimalne funkcionalnosti
rasvjete, pod uslovom da se ne štedi na prekidačima prilikom projektiranja ili
adaptacije.
Da bi pojam „puta svjetla“ učinili još razumljivijim, pogledajmo primjer 1 na slici: prikazani su svi pravci kretanja hodnikom, odnosno svi pravci prolaska iz prostorije u prostoriju. U opisu „puta svjetla“ ograničiti ćemo se na hodnik kao najidealniju prostoriju za zadovoljavanje ovog uvjeta. Kretanje hodnikom po danu ne predstavlja problem. Međutim, kako je po mraku?
U želji da izbjegnemo pipkanje po
zidovima pri traženju prekidača, položaj njihove ugradnje moramo ograničiti na
normalno područje dohvata u momentu prelaska iz prostorije u hodnik ili
obratno, što smo prikazali na primjeru 2; zeleni krugovi predstavljaju područje
normalnog dohvata rukom, bez naprezanja. Primjer 3 daje nam jasniji uvid u
područje dohvata prekidača. Zeleni čovječuljak lijevo upravo je ušao u hodnik i
uključuje rasvjetu; to nam daje do znanja da prekidač ne smije biti daleko od
ulaznih vrata. Žuti pak čovječuljak ne pridržava zid, već prikazuje idealan
dohvat prekidača pri izlasku iz prostorije: prekidači ne smiju biti daleko od
dovratnika. Plavi čovječuljak prikazuje mogućnost dohvata prekidača unutar same
prostorije, npr. prekidača rasvjete hodnika i prekidača kupaonske rasvjete,
koji mora biti ugrađen izvan kupaone. I na kraju, crveni čovječuljak ne
predstavlja prometnog policajca, već mogućnost dohvata prekidača u manjim ili
užim prostorijama.
Poučeni viđenim, pogledajmo primjer
4. Prikazani su žuti prekidači u prostorijama i zeleni
prekidači u hodniku. Prikazani prekidači zadovoljavaju uslove „puta svjetla“, jer su postavljeni u područja dohvata i kraj svake prostorije u koju ulazimo, ili iz koje izlazimo. Velika je prednost što niti u jednom slučaju prolaska hodnikom ne moramo biti u mraku, dok je nedostatak ugradnja većeg broja prekidača, u ovom slučaju 5 prekidača kojima uključujemo i isključujemo rasvjetu hodnika.
prekidači u hodniku. Prikazani prekidači zadovoljavaju uslove „puta svjetla“, jer su postavljeni u područja dohvata i kraj svake prostorije u koju ulazimo, ili iz koje izlazimo. Velika je prednost što niti u jednom slučaju prolaska hodnikom ne moramo biti u mraku, dok je nedostatak ugradnja većeg broja prekidača, u ovom slučaju 5 prekidača kojima uključujemo i isključujemo rasvjetu hodnika.
Kako bi ponovili gradivo o putu
svjetla i razjasnili eventualne nejasnoće, razmotrimo primjere 1 do 6 na slici.
U prvom primjeru naš se čovječuljak priprema za izlazak iz prostorije. Otvara
vrata i uključuje rasvjetu hodnika, što vidimo na primjeru 2. Sa istog mjesta,
bez učinjenog koraka i napora, isključuje rasvjetu u prostoriji iz koje izlazi,
što razabiremo na primjeru 3. Na primjeru 4 lagano kreće prema drugoj
prostoriji, ulazi u nju i uključuje rasvjetu (primjer 5), te sa istog mjesta,
stojeći na propuhu, isključuje rasvjetu u hodniku (primjer 6).
Što zaključujemo? Kao prvo,
rukovanje rasvjetom iznimno je jednostavno i funkcionalno. Kao drugo, nema
nepotrebnih koraka od prekidača do prekidača, i kao treće, izbjegnute su sve
neugodnosti pipkanja po zidovima, spoticanja o namještaj ili kućne ljubimce…
Sve u svemu, princip „puta svjetla“ možemo primijeniti na sve prostorije; o
tome više u tekstovima koji slijede.
RASVJETA HODNIKA
Pod rasvjetom hodnika podrazumijevamo svjetiljke koje se nalaze u nekom hodniku i elemente koji služe za uključenje rasvjete: prekidače, tipkala ili senzore pokreta.
Kako bi budući opisi bili
razumljivi, za početak spomenimo jedno (nepisano) pravilo: u hodnicima
stambenih zgrada tipkalo za zvono uvijek se postavlja u blizini vrata
(dovratnika, „štoka“) , na strani na kojoj je i kvaka, dok se tipkalo ili
prekidač za svjetlo postavljaju dalje od dovratnika(primjer 1). Postoji i drugo
„pravilo“ – tipkalo za zvono postavlja se kao i u primjeru 1, uz
vrata na strani na kojoj je i kvaka, dok se tipkalo ili prekidač rasvjete
postavljaju na suprotnu stranu vrata, obično malo udaljeniji od dovratnika (ali
još uvijek na dohvatu ruke kada stojimo u profilu dovratnika kod otvorenih
vrata). Opisani način postavljanja tipkala smanjuje mogućnost slučajnog
zvonjenja, odnosno olakšava nam upravljanje rasvjetom.
kućama. Načelo upravljanja rasvjetom je isto, samo što u stanu ili u kući neće biti tipkala za zvono. Promotrimo sad sliku. Primjer 1 prikazuje raspored stanova i hodnika, kao i pozicije tipkala za zvono, svjetiljke i križno – izmjeničnih prekidača. Vidimo da smo poštivali pravilo opisano u primjeru 2 na slici – tipkala za zvono uz vrata na strani kvake, prekidači za rasvjetu uz vrata nasuprot kvake. Primjer 2 prikazuje raspored prostorija u zamišljenom stanu ili kući, te raspored prekidača u hodniku. U ovom slučaju nemamo tipkala za zvono, pa ćemo prekidače smjestiti uz vrata, na strani kvake. Ovdje želimo poštivati dva pravila: pravilo „puta svjetla“, o čemu smo pisali ranije, te pravilo „komfora“, to jest postavljanje dovoljnog broja prekidača na pristupačna mjesta kako bi izbjegli eventualno tapkanje po mraku i pipanje po zidovima u potrazi za prekidačem. Stoga smo ugradili po jedan prekidač kraj svakih vrata u hodniku. Možda će Vam to na prvi pogled izgledati pretjerano; pokušaj te sad zamisliti hodnik dvosobnog stana dugačak nekih 6 metara u kojem se nalazi samo jedan obični prekidač za rasvjetu hodnika u blizini ulaznih vrata?
Prvi primjer,
koji vidimo na slici, neka bude upravljanje rasvjetom pomoću križno –
izmjeničnih prekidača. Zbog toga bi bilo dobro da malo ponovimo gradivo; što je
križno – izmjenična linija? To je klasični način upravljanja rasvjetom pomoću
tri ili više prekidača (vidi
sliku). Bitno je znati ovo: za križno – izmjeničnu liniju potrebna su nam
dva izmjenična prekidača, za „početak“ i „kraj“ linije, te neograničen broj
križnih prekidača koje spajamo između izmjeničnih. Svjetlo palimo ili gasimo
pritiskom na bilo koji prekidač.
Eh, sad to
funkcionira kod relativno manjih hodnika, zbog poprilične količine kabela koje
moramo utrošiti za opisani način upravljanja rasvjetom. Međutim, što je kod većih, bolje reći, dugačkih hodnika u stambenim zgradama sa mnogo stanova?
moramo utrošiti za opisani način upravljanja rasvjetom. Međutim, što je kod većih, bolje reći, dugačkih hodnika u stambenim zgradama sa mnogo stanova?
Pogledajmo
sliku; vidimo „veći“ hodnik neke stambene zgrade. Što zamjećujemo u primjeru 1?
Prikazan je optimalan, možemo reći „komforan“ raspored prekidača u odnosu na
ulazna vrata od stanova. Prekidači su u blizini vrata, nadohvat ruke, i
upravljanje rasvjetom je izuzetno lako i jednostavno. Međutim, u primjeru 2
prikazali smo „realniji“ raspored prekidača; tu se prvenstveno radi o uštedi
materijala, uz zadovoljavanje osnovnih uvjeta za normalno upravljanje
rasvjetom. Prekidače smo numerirali radi lakšeg objašnjenja. Prekidač 1 služi
za paljenje ili gašenje rasvjete kad ulazimo ili izlazimo iz hodnika. Tom
prekidaču možemo „prikrpati“ i stan br. 12. Zatim, prekidač broj 2 namijenjen
je stanovima 1, 2, 11 i 12, s time da stanari stanova 11 i 12 moraju prijeći na
suprotnu stranu hodnika kako bi uključili rasvjetu. Prekidač broj 3 je upitan;
koristili bi ga stanari stana broj 5, i eventualno broj 4. Mogao bih se kladiti
da taj prekidač ne bi našao svoje mjesto u štedljivom projektu. Za stanare
stanova 3, 4, 5, 9 i 10 realniji je prekidač broj 5. I za kraj, tu je prekidač
broj 4 na uslugu stanovima broj 6, 7 i 8.
Ne tvrdim da opisani raspored prekidača u primjeru 2 ne zadovoljava minimum funkcionalnih zahtjeva, naprotiv. Ali, kada govorimo o naprednim i modernim instalacijama koje uključuju sav mogući komfor i jednostavnost u upravljanju rasvjetom, tada odabir ipak pada na primjer broj 1. Naravno, to ima svoju cijenu, i vjerojatnije ćemo ovaj tip upravljanja rasvjetom prije pronaći u modernim kućama, nego u stambenim zgradama. Razlozi su jasni.
BISTABILI
Popularni bistabil (bistabilni sklopnik, bistabilni relej, impulsni sklopnik) je element električne instalacije kojim najčešće upravljamo rasvjetom pomoću tipkala. Međutim, za razliku od stubišnih automata, tipkala priključena na bistabil ponašaju se poput prekidača; bistabilima najčešće zamjenjujemo izmjenične i križno – izmjenične linije prekidača.
U svojoj naravi,
bistabili su jednostavni elementi pomoću kojih uključujemo ili isključujemo
rasvjetu. Pogledajmo sliku: imamo bistabil, tipkala koja povezujemo paralelno i
isto tako povezane svjetiljke. Pritisnemo li nakratko bilo koje tipkalo,
rasvjeta će se uključiti. Biti će tako dugo uključena dok ponovno ne pritisnemo
tipkalo – tada će se ugasiti. I tako u krug. Prednost je u jednostavnom
ožičenju – potrebna su tek dva vodiča malog presjeka (1,5 mm²) kojima povezujemo tipkala i bistabil. Raspored
tipkala u nekom zamišljenom hodniku pogledajte u poglavlju o stubišnim
automatima.
Prednost
izmjenično – križne linije, kao i upravljanja rasvjetom pomoću bistabila, je
ušteda električne energije. Naime, mi sami prema potrebi uključujemo i
isključujemo rasvjetu. Ali, u tome leži i veliki nedostatak: zaboravnost, bilo
slučajna, bilo namjerna. Jednom kad uključimo rasvjetu, ništa je neće ugasiti
osim sljedećeg stanara koji naiđe, pod uslovom da i on nije nemaran.
STUBIŠNI AUTOMATI
Eh, unatoč
općem mišljenju da se tu nema puno što za reći, sada ulazimo na jedno opširno
područje. I malo ćemo stati na loptu.
Uvriježeno
je mišljenje da postoji stubišni automat kojeg jednostavno ugradimo, ožičimo i
to je to. Međutim, da li je baš tako? Pogledajmo sad sliku; u gornjem lijevom
kutu prikazana su tri uobičajena modela stubišnih automata: mehanički,
elektronski sa relejnim izlazom i kombinirani. U čemu je razlika? Prvi,
mehanički stubišni automat je jednostavan; podesimo vrijeme rada i pustimo ga u
pogon. Međutim, ovi tipovi automata znaju biti neugodni: bučni su! Ako za svoj
rad koriste elektromotorić (što je najčešći slučaj), zvuk njegovog rada može
biti vrlo iritantan ako je razvodni ormar ugrađen u prostoriju u kojoj se
nalaze ljudi. Drugi tip, koji je najčešći, je diskutabilan. Zašto? Zato jer
postoji mnogo tipova ovakvih stubišnih automata, odnosno postoje automati koji
imaju režim rada koji nam u određenim trenutcima i neće biti od koristi, ali o
tome ćemo kasnije. Treći tip kombiniranog stubišnog automata zahtijeva
objašnjenje ovisno o proizvođaču i modelu. I o tome će još biti riječi.
Kako ožičiti stubišni automat? Moj savjet: pročitajte upute proizvođača! Naime, pojedini modeli automata mogli bi imati neku „kvaku“ na koju nećemo obratiti pažnju pri montaži, što bi nas moglo koštati i vremena i živaca kada ćemo pokušati ustanoviti zašto novougrađeni automat ne radi ispravno. Ako mudraci zapisuju, kako kaže poslovica, onda zasigurno i čitaju! U tome nema ništa lošega.
Na slici su
prikazani i stariji modeli stubišnih automata: mehanički automat sa satnim
mehanizmom (doslovno), te elektronski automat, za koje važi pravilo – njihova
proizvodnja davno je prestala, i u slučaju kvara možemo učiniti samo jedno:
zamijeniti ih nekim novim modelom.
Slika
potvrđuje prethodnu tvrdnju: postoji mnogo tipova stubišnih automata, ovisno o
proizvođaču, a da toga nismo ni svjesni. Stoga ih opišimo redom. Primjer 1
prikazuje vremenski grafikon rada „običnog“ stubišnog automata. „T“ označava
tipkalo, dok „S“ označava rad svjetiljke – rasvjete. Primjer jedan nam govori:
ako kratko pritisnemo tipkalo, rasvjeta S će se uključiti, i samostalno će se
isključiti nakon isteka podešenog vremena „t“. Ako pak kratko pritisnemo
tipkalo T i uključimo rasvjetu, i nakon nekog vremena koje je manje od
podešenog vremena (<t) ponovno pritisnemo tipkalo, podešeno vrijeme će se
„resetirati“ i rasvjeta će se isključiti tek nakon isteka podešenog vremena od
posljednjeg pritiska na tipkalo. Na taj način produžujemo vrijeme rada rasvjete
prema potrebi, a ipak možemo govoriti o uštedi električne energije jer npr. ne
moramo podesiti vrijeme rada rasvjete kako bi netko sporiji došao na peti kat;
dovoljno je da usput pritisne tipkalo kako bi produljio vrijeme rada rasvjete
onoliko koliko mu je potrebno. Za tu vrstu stubišnih automata kažemo da su „resetabilni“,
jer svakim pritiskom na tipkalo iznova počinju „odbrojavati“ vrijeme rada na
koje su podešeni.
Primjer 6 je
prikaz multifunkcijskog stubišnog automata koji objedinjuje mnoge ranije
opisane funkcije. Vidimo da je resetabilan, i da možemo isključiti rasvjetu duljim
pritiskom na tipkalo. Međutim, ovaj automat ima jednu novotariju: ako
pritisnemo tipkalo brzo dva puta u vremenu kraćem od dvije sekunde, tada će se
vrijeme rada produljiti dvostruko (t puta 2). Ako to učinimo tri puta, vrijeme
rada rasvjete će se produljiti trostruko (t puta 3) itd. Ovo je odličan automat
za uštedu električne energije; dovoljno je podesiti vrijeme rada rasvjete za
onoliko koliko je potrebno da i najsporija osoba prijeđe određenu udaljenost
(da se popne jedan kat). Jednostavno: koliko katova se trebamo popeti, toliko
puta pritisnemo tipkalo, i to je to. Ne treba ni spominjati da su ovakvi
automati idealni za upravljanje rasvjetom stubišta.
OŽIČENJE STUBIŠNIH AUTOMATA
Stubišni automati se mogu priključiti na instalaciju na dva osnovna načina: ožičenjem sa tri priključna vodiča, i ožičenjem sa četiri vodiča.
Na slici
vidimo kako to izgleda „u praksi“. Iako na primjeru sa tri vodiča ne
zamjećujemo
otprve o čemu se radi, „kvaka“ je u zajedničkom neutralnom (nultom) vodiču za rasvjetu i za tipkala. Naravno, u praksi ćemo polagati jedan kabel za rasvjetu, a drugi za tipkala.
otprve o čemu se radi, „kvaka“ je u zajedničkom neutralnom (nultom) vodiču za rasvjetu i za tipkala. Naravno, u praksi ćemo polagati jedan kabel za rasvjetu, a drugi za tipkala.
Koji način
ožičenja odabrati? Prvenstveno ovisi o modelu stubišnog automata i preporuci
proizvođača. Nadalje, ovisi i o postojećem ožičenju u samom objektu, projektnoj
dokumentaciji, vrsti osvjetljenja tipkala itd. Pošto imamo neovisne kablove za
rasvjetu i za tipkala, ako bi jedan način ožičenja stvarao probleme, jednostavno
se izvrši prespajanje ožičenja u samom razvodnom ormaru. Postoje i posebni
načini ožičenja za grupno upravljanje, kombinirano upravljanje itd., ali o tome
ćemo pisati kasnije.
PRAKTIČNA PRIMJENA STUBIŠNIH AUTOMATA
Slika nam prikazuje raspored tipkala za upravljanje rasvjetom hodnika. Što vidimo? Vidimo isti raspored tipkala kao što smo ranije imali raspored prekidača u križno – izmjeničnoj liniji. Zašto je to tako? Upravo iz istih razloga kao i ranije: funkcionalnost, komfor i poštivanje „puta svjetla“. Ne postoji nikakva prepreka, osim škrtog ili štedljivog investitora, da postavimo tipkalo za rasvjetu kraj svakih vrata, ili barem zajedničko tipkalo za vrata koja nisu previše udaljena. Međutim, tu bi se mogao javiti drugi problem – problem sa indikatorima (tinjalicama) u samim tipkalima, upravo zbog velikog broja tipkala. Toj temi ćemo posvetiti čitavo poglavlje. Istovjetan raspored tipkala vrijedi i za upravljanje rasvjetom pomoću bistabila.
STUBIŠTE
Stubišta u stambenim zgradama naoko predstavljaju jednostavna rješenja, barem što se tiče rasvjete; tipkala, stubišni automat i svjetiljke. I problem je riješen. Vidimo kako to izgleda u praksi na slici u primjeru 1. Međutim, da li i ovdje ima mjesta za poboljšanja? Naravno da ima.
U današnje
vrijeme svi govorimo o uštedi električne energije. Rasvjeta stubišta, pogotovo
u višim zgradama, može stvoriti značajne probleme. Naime, višekatnice obično
imaju liftove. Međutim, stanari nižih katova često ne koriste liftove, već rađe
odabiru stubišta; malo rekreacije, malo bliskih susreta sa pričljivim
susjedima, malo šetnje sa kućnim ljubimcima za koje ostali stanari negoduju ako
ih uvodimo u liftove…
Kako bi ostvarili uštedu utroška električne energije, u takvim slučajevima ćemo skratiti vrijeme rada rasvjete na stubišnim automatima. Međutim, to može stvoriti nelagodu, naročito kod starijih i sporijih osoba, ali i kod djece; nije baš mudro da se ugasi rasvjeta stubišta kada s malom djecom silazimo, ili se penjemo stepenicama.
Drugo
rješenje je ugradnja kombiniranih stubišnih automata, o kojima smo govorili
ranije; ako više puta brzo pritisnemo tipkalo, produljiti će se vrijeme rada
rasvjete. Ovo je odlično rješenje kada su u pitanju disciplinirani stanari.
Međutim, određen broj ljudi koristio bi tipkala poput morseove abecede. A
postoje i stariji ljudi kojima je napredna tehnika pojam poput malenog sela u
Španjolskoj.
Poseban
problem su četverokatnice i sl. bez liftova. Ako podesimo vrijeme za normalan
uspon na posljednji kat, doći će do velikog utroška električne energije. Ako
pak prisilimo stanare da na svakom katu pritisnu tipkalo (naročito oni stariji
i sporiji), izazvati ćemo gunđanje i skratiti životni vijek tipkala zbog
bjesomučnog udaranja po njima. Kada bi se mene pitalo, odabrao bih prvi scenarij
– produljeno vrijeme rada rasvjete, ili pak ugradnju naprednog stubišnog
automata, ili kombinaciju bistabila i stubišnog automata uz pažljivu edukaciju
stanara. Ima i drugih rješenja, ali o njima ćemo kasnije.
Da vuk bude
sit, a ovce na broju, jedno od praktičnih rješenja prikazano je na primjeru 2:
podjela rasvjete stubišta na dvije zone i ugradnja dva stubišna automata (kako
to izgleda, pogledajte na slici).
U praksi, podijelili smo naše stubište na dvije zone: prva zona je prizemlje, prvi i drugi kat, dok je druga zona drugi kat, treći i četvrti kat. U stvari, vidimo da je drugi kat („sredina“ stubišta) tako reći zajednička zona; tu smo ugradili dvostruko tipkalo kako pokazuje slika lijevo. Done tipkalo (na slici broj 1) je tipkalo za rasvjetu prema dolje, gornje tipkalo (broj 2) je za rasvjetu prema gore. I kako to radi? Jednostavno: u prizemlju i na prvom katu nalaze se tipkala i svjetiljke prikazane pod brojem 1 na slici. Na trećem i na četvrtom katu nalaze se tipkala i svjetiljke pod brojem 2. Na drugom katu je svjetiljka 1+2, donje tipkalo je broj 1, a gornje tipkalo je broj 2. Zamislimo da smo u prizemlju. Pritisnemo tipkalo 1 i uključi se stubišni automat 1 (SA1). Preko svojih kontakata (primjer 1) ili sklopnika K1 (primjer 2) uključiti će se rasvjeta u prizemlju i prvom katu (K1.1 u primjeru 2), ali i na drugom katu (K1.2 u primjeru 2). Ako idemo na prvi ili drugi kat, nikome ništa; rasvjeta će se ugasiti nakon podešenog vremena na stubišnom automatu. Međutim, ako idemo na treći ili četvrti kat, na drugom katu ćemo pritisnuti tipkalo 2 (gornje tipkalo). Privući će stubišni automat SA2 i uključiti će se rasvjeta na trećem i četvrtom katu, ali će sad rasvjetom drugog kata upravljati stubišni automat 2 (SA2) preko kontakta K2.1, bez obzira ako se ugasi rasvjeta na prvom katu i prizemlju (SA1 je otpustio). Ako pak idemo sa drugog kata prema dolje, pritisnuti ćemo donje tipkalo (1), a ako idemo gore, pritisnuti ćemo gornje tipkalo (2). Rasvjeta će se uključiti na način kako smo ranije opisali.
Što ovime
postižemo? Uštedu utroška električne energije, zbog kraćeg rada stubišnih
automata. Ovo je naročito pogodno za stubišta u visokim zgradama, kada ljudi
koriste stepenice kako bi otišli na kavu susjedu koji stanuje kat više ili
niže; na ovaj način nema potrebe da se uključuje rasvjeta kompletnog stubišta,
već samo jednog dijela.
I još nešto:
plavom bojom označena je rasvjeta na podestima (međukatovima). Ovu rasvjetu
svakako bi preporučio radi bolje vidljivosti na stepenicama, naročito kada
pregori jedna sijalica bilo na podestu, bilo na hodniku.
STUBIŠTE U MANJEM STAMBENOM OBJEKTU
Što se tiče stubišta i hodnika u manjim stambenim objektima (kućama katnicama), pažnju bi trebalo usmjeriti na nekoliko smjernica: dovoljan broj prekidača u hodnicima, dovoljan broj svjetiljki u hodnicima i na stubištu, pravilan raspored prekidača te rasvjeta u slučaju nužde. Na slici vidimo da smo hodnike u prizemlju i na prvom katu opremili dovoljnom količinom prekidača za optimalno upravljanje rasvjetom, o čemu smo pisali ranije, dok rasvjetom stubišta upravlja izmjenična linija. Nema tu velike filozofije: sve je na svome mjestu, izbjegli smo sve zamke nedostatnog broja prekidača i kretanje hodnicima i stubištem učinili smo krajnje jednostavnim. Na slici je dodana i protupanična svjetiljka na podestu stubišta – sasvim dovoljno rasvjete u slučaju nestanka električne energije. Prikazana su i dva modularna prekidača – izmjenični prekidač za rasvjetu hodnika i izmjenični prekidač za rasvjetu stubišta.
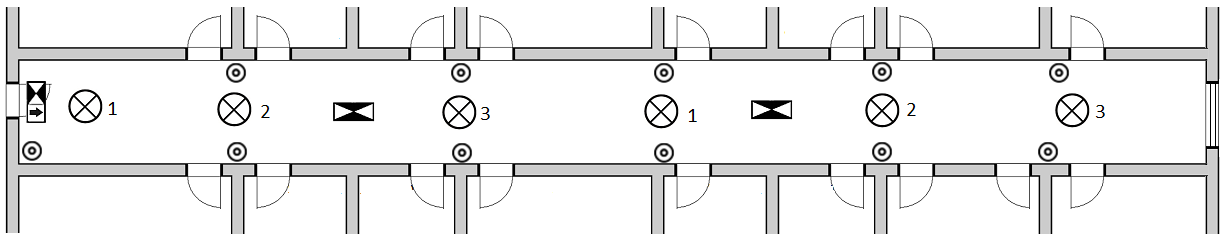
RASVJETA VEĆEG HODNIKA
Evo nam primjera „većeg“ hodnika u nekoj stambenoj zgradi. Sve smo rasporedili „po propisu“ – tipkala, svjetiljke i protupaničnu rasvjetu. Međutim, da li i tu ima mjesta za poboljšanja?
Primjer 1 na
slici daje nam najčešće rješenje za rasvjetu spomenutog hodnika: stubišni
automat SA uključuje rasvjetu 1, 2 i 3 (zajedno). U biti, u ovom slučaju nema
potrebe dijeliti rasvjetu; jedan kabel dovoljan je za sve svjetiljke.
Međutim, primjer 2 daje nam neka poboljšanja: tri neovisna strujna kruga rasvjete upravljana jednim sklopnikom (K1), kojega uključuje i isključuje stubišni automat. Zašto je to bolje? Prvo, ako dođe do kvara (kratkog spoja) na jednoj liniji rasvjete, izbaciti će osigurač samo od te linije, dok će ostatak rasvjete i dalje raditi normalno. Isti slučaj je i sa ispadom jedne faze – kada napon jedne (ili čak dvije) faze padne na nulu; dio rasvjete i dalje će raditi. Ovo je naročito pogodno rješenje za jako dugačke hodnike, a i investicija nije prevelika. valja razmisliti o tome.




















Nema komentara:
Objavi komentar
Napomena: komentar može objaviti samo član ovog bloga.